您所在的位置:上海在线首页 > 财经企业 > 财经快讯> 浏览正文


他曾是IPO收割机 如今栽在A股公司新开源上


 
2020-12-27 23:14:28

 原创 余胜良

  总是能在公司上市前入股,吃掉一二级市场红利,准确率超过著名PE,但是马失前蹄,一路上打怪升级积累下来的神器,在新开源(13.750,-0.05, -0.36%)(300109)这个平台上散落殆尽。

  他就是新开源前董事长、申港证券前董事长方华生,目前还担任申港证券董事,已和家人长期不在国内。不仅自己受损,一些当年将方华生当作带头大哥的企业家,也跟着一起遭了殃,盖子揭开后,他们发现自己陷入财务迷局中。

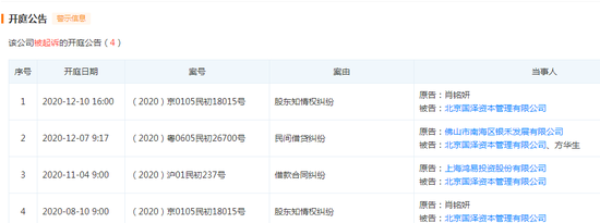
  12月份,司法诉讼信息显示,北京国泽资本管理有限公司股东简伟文和蔡婉婷,将方华生以及国泽资本告上法庭,选择将矛盾公开化,他们的诉求除了要债,还有就是查账。还有一则诉讼正在立案,要清算国泽资本。

  在担任新开源董事长之时,方华生将国泽资本当作其资本运作核心平台。国泽资本持有申港证券10%股权,国泽资本和新开源之间还有纠缠不清的关系。国泽资本的一部分资金2.8亿元,认购了新开源股权,而这一切,是为了隐藏国泽资本和新开源之间的关联关系。

 

编辑:上海在线 shzx.com

+ 相关信息咨讯
·商业没有捷径,但可以“换道”
·最美W SQUARE夏日多巴胺市集来咯!多重福利加上保
·央行:上半年人民币存款余额295.72万亿元,同比增
·上半年银行退出千余家支行、分理处等
·2024年东吴双创峰会启幕 XR创新企业VITURE惊艳亮
·第七届进博会企业展签约面积超35万平方米,26家企
·三大航上半年继续减亏,南航二季度环比转亏:国内
·贸易规模再创新高!今年上半年我国货物贸易进出口
·2024年全国夏粮获丰收,产量比上年增长2.5%
·太平人寿上海分公司7•8全国保险公众宣传活
版权与免责声明:
1.上海在线 shzx.com 所载作品均转载自境内其他合法网站,均来自我站会员在线投稿,全部转载自其它媒体,转载目的在于传播信息,不代表本网观点,本网不承担直接责任及连带责任。
2. 因难以对所有会员投稿文章事前版权筛查,如因作品内容、版权等被侵权需本网删除的,请根据“避风港原则”在作品在本网发表之日或发现被侵权之日起30日内务必发邮件law###shzx.com(发送时请将###更换为@)书面通知我站,若未书面通知我站不负法律责任。

版权所有 Copyright ©2003-2024 上海远方信息 上海在线 shzx.com All Rights Reserved. 网络作品传播权及著作权声明
媒体合作(发稿采访发布会等)电话:021-34121912 微信:yuanfangnet QQ:156988883 点击可以在线给我们留言,我们会在第一时间回复您


公安备案号:

沪公网安备 31011202002854号

工信部ICP备案号:沪ICP备17046604号-10